A pesar de que la tecnología ha fomentado el desarrollo de inventos que pueden mejorar la calidad de vida de los humanos, también ha fomentado la creación de proyectos bastante irresponsables, como la pulsera de Amazon para vigilar a los trabajadores…
¿Pulsera para vigilar a los trabajadores?
La compañía de comercio electrónico, acaba de patentar el diseño de dos pulseras que le permite a los jefes vigilar a los trabajadores y rastrear cada uno de sus movimientos e incluso su ubicación.
De acuerdo con la marca, el principal objetivo de esta pulsera no es el vigilar a los trabajadores, sino fomentar el cumplimiento de los pedidos y para hacerlo, la pulsera tendrá la capacidad de vibrar cada que el colaborador se mueva en una dirección incorrecta.

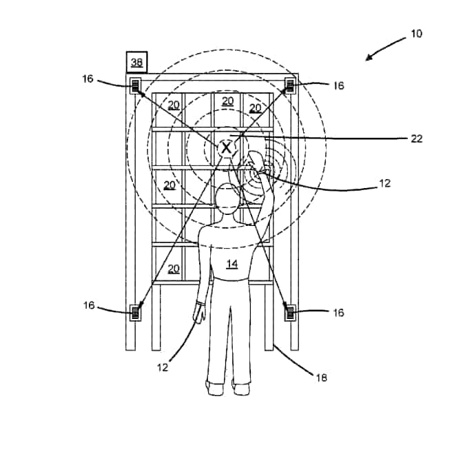
Las pulseras para vigilar a los trabajadores emitirá pulsos ultrasónicos y transmisiones de radio que le permitirán a los jefes rastrear la ubicación de las manos de un trabajador ubicado en los contenedores de inventario y además, permitirá una retroalimentación táctil que ayude a guiar al colaborador hacia el contenedor adecuado.
¿Qué opina Amazon?
Para la marca, esta pulsera va más allá de vigilar a los trabajadores, esta diseñada para agilizar la tarea de responder pedidos, empacarlos y enviarlos. La pulsera es una guía para que los colaboradores puedan identificar y complementar las órdenes adecuadamente y más rápido.
Sin embargo, un portavoz de la compañía compartió con la cadena de televisión TheBlaze, que las especulaciones sobre que esta pulsera esta diseñada para vigilar a los trabajadores son erróneas.

El portavoz señaló que en el mundo, muchas empresas usan un escáner de mano para verificar el inventario y se pueda cumplir correctamente con los pedidos. Ahora, que si se patenta la pulsera de Amazon, permitirá mejorar el proceso de cumplimiento de los pedidos.
¿Y la RSE, Amazon?
De acuerdo con algunos críticos del New York Times, esta pulsera sí esta hecha para vigilar a los trabajadores e invade la privacidad de los consumidores. Además, estas pulseras los hacen recibir el trato de un robot no de un humano.
Por su parte, The Guardian señala que actualmente los colaboradores reciben todas las indicaciones a través de las computadoras portátiles. Estas indicaciones les indican en dónde se encuentra el producto para que puedan empacarlo y enviarlo en tiempo y forma.
En cambio estas pulseras usarán el rastreo ultrasónico para identificar la ubicación precisa de las manos de un trabajador. La patente describe que el sistema vibrará constantemente si el colaborador no se encuentra en la ubicación exacta o si tiene en sus manos un paquete erróneo.
Para los colaboradores y exempleados de la marca, la pulsera, que parece tener el objetivo de vigilar a los trabajadores, no es algo nuevo ni un invento del cual sorprenderse, ya que no es la primera vez que la empresa implementa una tecnología de rastreo.











